閉じる

  •  
 
 

閉じる

 
 

更新日:2025年1月30日

ここから本文です。

台風への対策

対策の概要

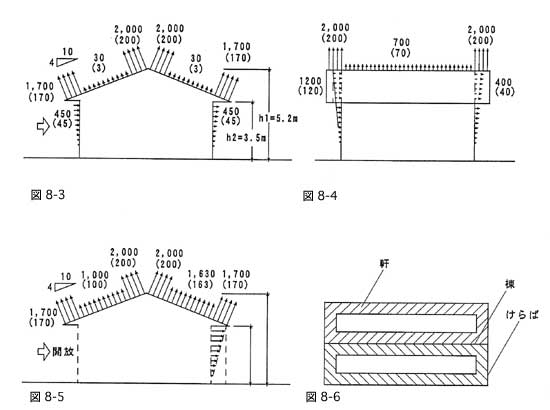
鹿児島の気象災害のうち、特に被害の大きいのは台風です。

風圧力は、気象の状況、建築物の形、地形等によって異なり、複雑な様相を呈するので、一概には言えませんが、一般的には瞬間最大風速が60m/sのときに、周囲に風を遮るものがなく、かつ、窓や出入口の開口部を全て閉め切った状態では、概ね、図8-3のような影響を及ぼすと推測されます。
ここで注意しなければならないのは、風は、ただ押すだけではなく引く力も働くということです。屋根の瓦やトタンがめくられ、飛散するのもこの力によるものが多くなっています。特に、屋根の棟や、けらば及び軒の先端部分のように、風の流れに変化の起こり易い部分には、局部的に極めて大きな風圧力が作用します。
こうした部分の施工が適切でないと、その部分が破損することにより建物全体が大きな被害を受けたり、また、窓や出入口の開口部の台風対策が充分でないと、その破損によって、図8-5のような大きな風圧力を受け、思わぬ被害を招く結果になります。
したがって、建物の形状、風の流れを良く検討し、充分にその部分の補強を考えておくことが肝要です。(図の数値は風圧力、単位:Pa、()内はkg/平方メートル)
 
風圧力

主な手法

●平面形状・立面形状の工夫

●強風に強い屋根の工夫

●建築材料による対策

●植栽による強風の緩和
 

よくあるご質問

このページに関するお問い合わせ

土木部建築課住宅政策室

より良いウェブサイトにするためにみなさまのご意見をお聞かせください

このページの情報は役に立ちましたか?

このページの情報は見つけやすかったですか?